Voltagezone.com
TOP COOL SITE:       ebookdata.com     - The site with FREE ebook downloads for everybody!
Hochspannung
» Capbank
» Lifter
» Teslaspule
» Zeilentrafo
EM-Waffen
» Coilgun
Elektronik
» Audioverstärker
» Bauteile
Tutorials
» Platinen ätzen
Bezugsquellen
» Tipps und Bezugsquellen
Allgemein
» Downloads
» Links
» Gästebuch
» Forum
» Kontakt
» Sicherheit

 

Layer-Ads - Das Werbenetzwerk von morgen

Capbank 2: 1800 Joule

1750V mit ca. 1200µF

             

Bei so hohen Spannungen und Energiemengen ist äußerste Vorsicht angebracht, da ein über den Körper geschlossener Stromkeis mit einem Blitzschlag zu vergleichen ist. Diese Capbank ist viel leistungsfähiger als die erste. Sie besteht aus 5 großen Becherelkos, die in Serie geschalten sind um eine höhere Spannung zu erreichen. Die Elkos haben eine Nennkapazität von je 6000µF und eine Spannung von 350V.

Berechnen lassen sich die Gesamtkapazität Cges und die Spannung Uges bei Serienschaltung von gleichen Kondensatoren
mit folgenden Formeln:

   Formel für Gesamtkapazität und Gesamtspannung

Uc...   Spannungsfestigkeit eines Kondensators
Cc...   Kapazität eines Kondensators
 n...    Anzahl der in Serie geschaltenen Kondensatoren

 

 

Aufbau der Capbank:

Blockschaltbild der Capbank

  • Wenn die Kontroll-LED, die in der Schutzschaltung eingebaut ist, zu leuchten beginnt, sollte man sich jeden weiteren Handgriff gut überlegen, es sei denn man hat sein Testament schon gemacht : ).

  • Durch die dick gezeichneten Verbindungen zwischen den Kondensatoren fließt bei einer Entladung ein gewaltiger Strom. Zur Verbindung wurden Kupferprofile verwendet. Die Hauptanschlüsse (+ und -Pol) sind mit zwei M8 Schrauben ausgeführt.

  • Die Messklemmen sind zwar nicht unbedingt erforderlich, aber so kann man die Spannung an jedem einzelnen Kondensator messen. Diese Spannungen sollten normalerweise alle gleich sein, aber zufolge der großen Fertigungstoleranzen (-20...+50%) ergeben sich auch Spannungsunterschiede. Die Schutzschaltung wirkt den Unterschieden etwas entgegen.

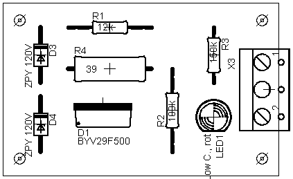
Schutzschaltung für Elkos

Die Schutzschaltung verhindert, dass der betreffende Kondensator überladen wird und bei Nichtgebrauch nach einigen Minuten wieder berührungssicher ist. Diese Selbstentladefunktion ist zur Sicherheit eingebaut, weil ein aufgeladener Kondensator ein Sicherheitsrisiko ist, da er seine Ladung über Tage hinweg beibehalten kann. Des weiteren wird sicher gestellt, dass bei einer Entladung über eine induktive Last die negative Spannung, die dann an der Spule auftritt und für den Elko sehr schädlich, extrem gedämpft wird. Es wäre besser wenn sich diese negative Spannung nur über eine Diode entladen würde, aber Dioden, die solche Ströme aushalten sind dementsprechend teuer. Also wurde ein Vorwiderstand vor eine preiswerte Diode geschalten um den Strom zu begrenzen.

Layout zum Download als Eagle File.

 

Layout:

Layout

 

 

                        Abmaße des Layouts: 50 x 30mm

 

 

 

 

Bestückungsplan:

Bestückungsplan


 

 

 

 

 

 

 

 

Ladegerät

Als Vorlage für den Spannungswandler diente mir der Ernsthafte Wandler, den ich für meine Zwecke modifiziert hab. Ich hab zwar nicht alles ganz so genau durchgerechnet, sondern Erfahrungswerte für die meisten Bauteile eingesetzt aber der Wandler funktioniert tadellos. Bei 24V Eingangsspannung erzeugt der Wandler genau die richtige Ausgangsspannung zum Laden der Capbank. Bei 40 V läuft der Wandler auch noch problemlos, allerdings ist dann ein Dauerbetrieb wegen der Wärmeentwicklung nicht mehr möglich.

                                      

 

Schalter

Weil es für 1750V schwer ist einen elektronischen Schalter zu bekommen, der so eine Leistung aushält hab ich mir kurzerhand selber einen gebastelt. Es ist zwar nicht das Ideale, aber dafür ist sehr preiswert und extrem robust und unempfindlich im Gegensatz zu Halbleitern oder Röhren. Der einzige Nachteil ist, dass man ihn von Hand betätigen muss. Ein möglicher Ersatz für meinen Selfmade-Schalter wäre mein Thyratron.

                         



Andere Seiten zu dem Thema:

Hochspannungsbauteile und Hochspannungsgeneratoren günstig kaufen

Wichtig!

Bitte die Sicherheitshinweise lesen, bevor ein Nachbau in Betracht gezogen wird.

 
This site is copyright © 2005 by Thomas Feibel
Impressum

Search Engine Optimization